
0 引言
1 数学模型
2 数学模型验证
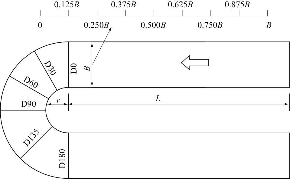
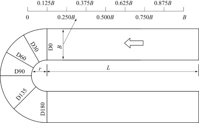
2.1 U型弯道布置型式
2.2 网格无关性分析
2.3 数学模型验证
3 计算工况
表1 模拟工况参数设定Table 1 Parameter settings for simulated operating conditions |
| 方案 工况 | 流量/ (L·s-1) | 调流设施 | 入口水 位/cm | 出口水 位/cm | 入口流速/ (cm·s-1) |
|---|---|---|---|---|---|
| 1 | Q1= | 无调流设施 | 6.5 | 5.5 | 40.51 |
| 2 | 7.9 | 设置调流桨片 | 6.5 | 5.5 | 40.51 |
| 3 | Q2= | 无调流设施 | 10.0 | 8.0 | 52.67 |
| 4 | 15.8 | 设置调流桨片 | 10.0 | 8.0 | 52.67 |
